2023-04-20 11:24:43
1 选择加固方案,结合结构现状,考虑三者共同作用,初步筛选加固地基、加固基础或加固上部结构刚度和加固地基基础相结合的方案
2 根据预期效果、施工难易程度、材料来源和运输条件、施工安全性、对邻近建筑和环境的影响、机具条件、施工工期和造价,选定最佳方案。
地基加固:
锚杆静压桩法
树根桩法
坑式静压桩法
石灰桩法
注浆加固法
基础加固:
基础补注浆液加固法(裂缝修补)
加大基础底面积法
加深基础法
基础纠偏
卸载法
1、锚杆静压桩法
a、适用于淤泥、淤泥质土、粘性土、粉土和人工填土等地基土的加固
b、锚杆静压桩是利用锚杆的抗拔力将预制桩或钢管静压入土体内,通过桩承载力提高原地基承载力,当原承台承载力不足时应加固,也可设悬挑梁或抬了作为压桩的承台。
c、可采用钢材,对钢筋混凝土桩宜采用方形,边长为200~300mm;桩长每节宜为1.0~2.5m

2、树根桩法
a、适用于淤泥、淤泥质土、粘性土、粉土、砂土、碎石土及人工填土等地基土上既有建筑的修复和增层、古建筑修整、地下铁道的穿越等的加固工程
b、树根桩直径宜为150~300mm,桩长不宜超过30m,布置可采用直桩型或网状结构斜桩型

3、坑式静压桩法
a、适用于淤泥、淤泥质土、粘性土、粉土及人工填土等地基土,且地下水位较低的情况
b、桩身直径宜为150~300mm的开口钢管或边长为150~250mm的与之钢筋混凝土方桩。

4、石灰桩法
a、适用于处理地下水位以下的粘性土、粉土、松散粉细砂、淤泥、淤泥质土、杂填土或饱和黄土等地基及基础周围土体的加固
b、由生石灰和粉煤灰(火山灰或其他掺合料)组成,生石灰氧化钙含量不低于70%,含粉量不得超过10%,含水量不得大于5%,最大块径不得大于50mm。常用配比1:1、1:1.5或1:2,提高桩身强度也可掺入水泥、砂和石屑。

c、石灰桩法的加固作用:1 成孔挤密——杂填土中,粗颗粒较多,挤密效果好;粘性土中,渗透系数小的,挤密效果差。2 吸水作用——1kg纯氧化钙吸水0.32kg,石灰桩吸水65%-70%。3 膨胀挤密——吸水膨胀,在压力50-100kPa下,膨胀量20%~30%。4 发热脱水——1kg氧化钙产生280卡热量,桩身温度200~300℃。5 离子交换——软土中钠离子与石灰中的钙离子发生交换,改善了桩间土的性质,在桩身表层形成强度很高的硬层。6 置换作用——软土被强度较高的石灰桩取代,增加了复合地基的承载力,提高幅度与桩身强度和置换率有关。
5、注浆加固法
a、适用于砂土、粉土、粘性土和人工填土等地基加固
b、分渗透注浆、劈裂注浆和压密注浆
c、渗透注浆:浆液将土中的自由水和气体排挤出去,通过充填裂隙或空隙,胶结周围土体,形成较密实的固化体,从而提高土层的抗压强度和抗渗性。渗透注浆不会引起土体体积大的变化。当地层为砂层、卵石层、碎石土等第四系地层(渗透系数大于10-4cm/s)时,宜采用渗透注浆方式。
劈裂注浆:浆液在较高的压力下,注入到孔隙率较小的地层中。浆液在高压力作用下,沿地层的结构面产生劈裂流动,在地层中形成脉、网状分布。不规则的脉、网状固结物和由于浆液压力而挤密的土体构成复合地层,从而具备一定的承载能力和止水能力。当地层为粘性土地层、埋深较大、渗透系数较小(小于10-5cm/s) 时,宜采用劈裂注浆方式。
压密注浆:采用有一定稠度或速凝型的浆液,通过压力对土体产生压密效应,从而改善土体的物理力学性能,其固结体在土体中一般呈似球体或块体状分布。
d、注浆孔间距1.0-2.0m,劈裂注浆的压力在沙土中,宜为0.2-0.5MPa;粘土,宜0.2-0.3MPa。对压密注浆,当采用水泥砂浆浆液时,塌落度宜为25-75mm,压力1-7MPa;塌落度小取上限值。

1、加大基础底面积法
a、适用于既有建筑地基承载力或基础地面积尺寸不满足设计要求时的基础加固。
b、设计时根据修要可不对称加宽,需注意新旧基础的接合面强度,可采用凿毛、处理界面、涂刷界面剂或增加机械连接强度等方式
c、对原刚性基础,加宽时需考虑刚性角是否还满足要求,否则应考虑既加宽又加高。

对原毛石刚性基础采用钢筋混凝土加宽。

原柔性基础加高改为刚性基础。

设置加宽底板的钢筋混凝土护套

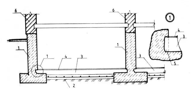
2、加深基础法
a、适用于既有建筑地基浅层有较好的涂层作为持力层且地下水位较低的情况。
b、
![]()
d——对于地下室,如采用箱形基础或筏基时,自室外地面算起,当采用独立基础或条形基础时,应从地下室室内地面标高算起。

3、拉压桩挑梁卸荷法
a、卸载法适用于原地基承载力不足,又不宜采用加大基础截面方法的基础加固(一侧无法施工),提高幅度较大

4、基础纠倾
a、适用于整体倾斜超过国家现行标准允许值,且影响正常、安全使用的既有建筑物


b、采用迫降纠倾、顶升(纠倾或地基土固化(低一侧)等方法纠正基础不均匀沉降的加固方法
5、高压喷射注浆法
a、适用于处理淤泥、淤泥质土、粘性土、粉土、黄土、砂土、人工填土和碎石土等地基。
b、在浆液未硬化前,有效喷射范围内的地基因受到扰动而强度降低,容易产生附加变形,因此在处理既有建筑物或邻近既有建筑物旁施工时,应防止施工过程中的附加沉降。
c、通常采用控制施工速度、顺序和加快浆液凝固时间等方法防止或减小附加变形。
一砖一瓦科技有限公司 2013-2022●Privacy Policy一砖一瓦科技有限公司版权所有苏ICP备17047090号-7
总部地址: 江苏省南京市雨花台区绿都大道4号绿地之窗C-1栋824 座机: (025)52363291